型号:EQVF187HP
连接方式:对夹连接
适用温度:-20℃~400℃
阀体材质:不锈钢
密封材质:304
适用介质:适合颗粒物、结晶、结焦结垢等介质
产品概述
1. 玮控电动V型球阀阀体采用整体侧装式结构,结构刚性强,不容易引起变形和外泄
2. V 型开口与阀座之间的剪切作用力,及阀内腔流道的光滑圆整,使介质不易积存于内腔,所以它除适合液体介质外,更适合于带纤维及固体颗料介质的系统控制。
3. 阀体内装有上下自润滑轴承,与阀杆接触面积大,承载能力高,摩擦系数小,使阀门扭矩减少。
4. 阀座可根据介质和工况的需要,选择金属硬密封或PTFE软密封。球体表面可镀硬铬或喷焊、离子氧化等硬化处理。
5. 通过对小口径阀芯特殊V 型开口的加工,可实现小 Cv 值精确控制。
6. 采用P65防水等级电动执行器、F级绝缘电机。高强度防水防尘,使用更放心。
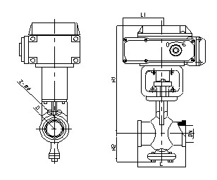
产品尺寸图

外形尺寸
|
公称通径
DN(mm) |
尺寸 (mm)
|
||||||||
|
对夹
|
法兰式
|
L
|
H1
|
H2
|
|||||
|
D
|
D
|
D1
|
D2
|
q
|
Z-Φd
|
||||
|
25
|
64
|
110
|
85
|
65
|
14
|
4-14
|
102
|
277
|
60
|
|
40
|
82
|
145
|
110
|
85
|
16
|
4-18
|
114
|
305
|
75
|
|
50
|
100
|
160
|
125
|
110
|
16
|
4--18
|
124
|
364
|
95
|
|
65
|
120
|
180
|
145
|
120
|
18
|
4-18
|
145
|
379
|
105
|
|
80
|
131
|
195
|
160
|
135
|
20
|
8-18
|
165
|
389
|
120
|
|
100
|
158
|
215
|
180
|
155
|
20
|
8-18
|
194
|
402
|
140
|
|
125
|
180
|
245
|
210
|
185
|
22
|
8-18
|
213
|
426
|
165
|
|
150
|
216
|
280
|
240
|
210
|
24
|
8-23
|
229
|
453
|
185
|
|
200
|
268
|
335
|
295
|
265
|
26
|
12-23
|
243
|
473
|
205
|
|
250
|
326
|
405
|
355
|
320
|
30
|
12-25
|
297
|
540
|
240
|
|
300
|
460
|
460
|
410
|
3750
|
30
|
12-25
|
338
|
590
|
290
|
|
350
|
470
|
-
|
-
|
-
|
-
|
|
-
|
|
|
|
400
|
525
|
-
|
-
|
-
|
-
|
|
-
|
||